事业编制的朋友,要是符合兼职律师的岗位条件,是不是也愁 “手续该从哪办起”?比如先找单位签字还是先找律所?要跑多少部门?准备啥材料才不会漏?今天就把事业编制人员兼职做律师要办的手续拆解开,一步一步说清楚,希望能帮到你~
一、第一步:先跟本职单位申请,办 “同意兼职证明”
这是所有手续的起点,没单位同意,后面啥都办不了。具体要做这 3 件事:
- 写书面申请:自己先写一份《兼职律师执业申请书》,内容得说清楚想在哪家律所兼职、每周计划花多少时间做兼职、怎么保证不影响本职工作(比如承诺 “只在下班和周末处理律师业务”)。
- 找部门审批:把申请交给科室领导签字,领导同意后再送到单位人事部门审核。人事部门会核查你是不是 “法学教育或研究岗位”,没问题的话就会开《事业编制人员兼职律师同意证明》,这个证明得盖单位公章才有效。
- 留存复印件:把证明原件和复印件都收好,后面找律所、去司法局都要用到,别弄丢了。
可能有人会问:“要是单位人事部门不懂政策,不给开证明咋办?” 其实可以把《律师法》里 “高等院校、科研机构法学人员可兼职律师” 的条款打印出来,跟人事部门解释清楚,大多时候他们都会配合的。
二、第二步:找合规律所合作,签 “兼职律师协议”
拿到单位证明后,就得找一家有资质的律所(没执业许可证的 “黑律所” 可别找),具体手续如下:
- 律所审核材料:把身份证、法律职业资格证、单位同意证明、学历证书这些材料交给律所,律所会看你是不是符合兼职条件,还会问你想接啥类型的案子(比如民事案、非诉讼案)。
- 谈合作细节:得跟律所聊清楚 “提成比例”(比如办个案子能拿多少分成)、“资源使用规则”(能不能用律所的办公设备、盖章要不要收费)、“管理要求”(要不要参加律所会议),这些都得提前说透。
- 签协议:谈好后签《兼职律师合作协议》,协议里要把聊好的内容都写进去,别只靠口头约定,免得后续扯皮。
这里给大家整理了一张 “律所筛选参考表”,方便大家找靠谱的律所:
| 筛选维度 | 靠谱律所特征 | 要避开的律所特征 |
|---|
| 资质 | 有司法局颁发的《律师事务所执业许可证》,能在官网查到 | 没许可证,或许可证过期,查不到备案信息 |
| 口碑 | 网上没太多投诉,同行评价不错 | 频繁被客户投诉 “乱收费”“不办事” |
| 对兼职律师态度 | 会主动说明提成、资源使用规则 | 只催着签协议,不解释关键条款 |
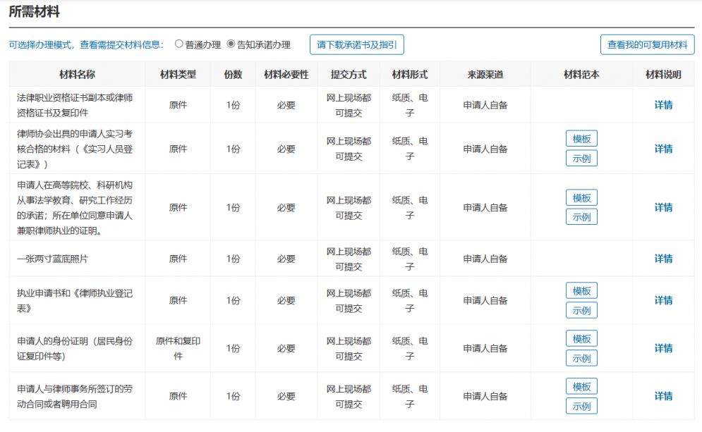
三、第三步:准备全套材料,交给律所帮办 “执业申请”
这步不用自己跑司法局,律所有专门的人帮你提交,但材料得准备齐全。具体要准备这些:
- 《兼职律师执业申请表》:从当地司法局官网下载,按要求填写,贴一寸免冠照片,别填错个人信息(比如身份证号、律所名称)。
- 单位同意证明原件:就是第一步拿到的盖了公章的证明,复印件不行,司法局要核验原件。
- 法律职业资格证原件及复印件:原件给司法局看,复印件盖律所公章后留存。
- 实习考核合格证明:要是没执业过,得提供律师协会出具的实习考核合格材料;要是之前做过专职律师,这个可以免。
- 律所接收证明:就是跟律所签的《兼职律师合作协议》复印件,盖律所公章。
- 身份证原件及复印件:确保身份证在有效期内,复印件要正反面都印。
四、第四步:等司法局审核,领 “兼职律师执业证”
材料交给律所后,就等着司法局审核了,具体流程如下:
- 初审(20 天左右):市级司法局先审核材料齐不齐、对不对,要是材料有问题(比如缺复印件、申请表没签字),会通知你补正,补好后再继续审。
- 终审(10 天左右):初审过了,材料会送到省级司法局终审,主要看你是不是真的符合条件,比如岗位是不是法学相关、有没有违规记录。
- 领证:终审通过后,司法局会通知你去领《律师执业证(兼职)》,一般是去市级司法局窗口领,领证时要带身份证原件。
有人会问:“要是审核没通过,该怎么办呢?” 别慌,司法局会书面告诉你没通过的原因,比如材料漏了、岗位不符合,你按原因补好材料,下次再申请就行。
我觉得事业编制人员兼职做律师的手续,关键是 “先跟单位沟通好” 和 “材料准备细心”,这两步做好了,后面基本顺顺利利。大家要是在某一步卡住了,别自己瞎琢磨,多跟律所行政、单位人事沟通,他们都懂流程。另外,拿到执业证后,记得把证复印件交给单位人事部门备案,这样本职和兼职都合规,也不用怕后续有麻烦。希望这篇手续拆解能帮到你,一起往下看吧!有其他疑问也可以留言~

暂无评论